图知网
搜索
首页
热门推荐
图片分类
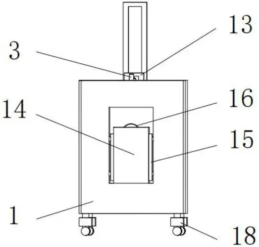
一种拉杆折叠的行李箱的制作方法
下载原图
相关图片
工具,在用于搬运时较为方便,但是常常无法折叠,闲置时由于拉杆箱的
一种折叠收纳箱的翻折结构的制作方法
cn2744480y_插置数工具盒及可折叠组装的工具箱失效
折叠收纳箱的制作方法
一种带有可拆卸手提包的拉杆箱
常用纸盒结构ppt
为你推荐
新头像get!可惜撒撒的大头没有,哭了.肉笑皮不笑真的是笑死我了!
"背后捅刀子",竟成俄媒流行语?
理疗师给病人受伤的脚包扎
埃隆·马斯克 | 图片来源:布隆博格
朴叙俊《梨泰院class》最新剧照曝光 可爱栗子头造型吸粉无数--韩国
人人识读甲骨文之"国"字
8万109㎡简约三房装修现代简约风简净其华
速看!泗阳县国土空间总体规划(2021-2035年)获批!