图知网
搜索
首页
热门推荐
图片分类
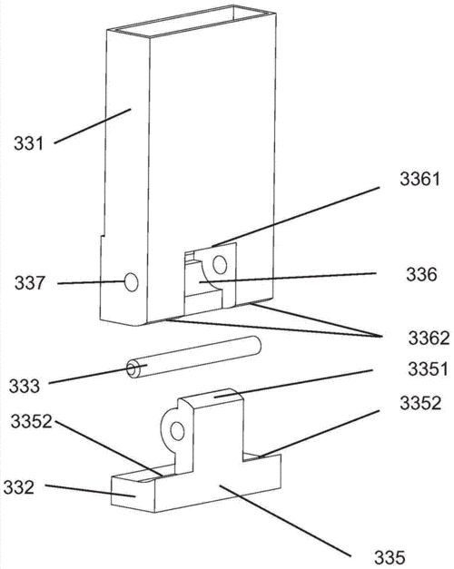
一种带有可拆卸手提包的拉杆箱
下载原图
相关图片
工具,在用于搬运时较为方便,但是常常无法折叠,闲置时由于拉杆箱的
一种折叠收纳箱的翻折结构的制作方法
一种纸箱自动折叠装置的制作方法
cn2744480y_插置数工具盒及可折叠组装的工具箱失效
折叠式多功能周转箱
cn105620950b_侧壁结构及具有其的可折叠式集装箱有效
为你推荐
《秋海棠》邢佳栋脱水剪辑
怒海争锋
键 词:福特logo 福特车标 车标 汽车标志 汽车logo 汽车
鱼游动
叶子,未成熟的,西红柿,黑色,白色背景
古玛雅人是什么人啊
解剖珍贵的老黄花梨棕眼纹理图示,你能看懂吗|棕眼|花梨|纹理
乐清市地图全图高清版- 温州本地宝