图知网
搜索
首页
热门推荐
图片分类
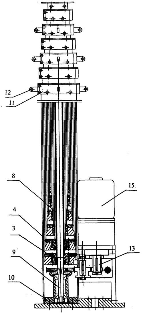
求35米高杆灯升降原理图
下载原图
相关图片
cn100404912c_方管形丝杠传动升降杆有效
天线杆升降原理图
内走线式升降杆的制作方法
展开全部 气压升降椅升降的气压伸缩杆里面是灌气,不压时里面的压力
一种可以精确调节高度的电动升降杆的制作方法
可控簧,所述可控簧用于控制升降管升降,所述可控簧两端分别为活塞杆和
为你推荐
神仙壁纸 #治愈系壁纸 #送你一张壁纸 - 抖音
chloe蔻依托特包小号
鞋盒包装设计
科学《了不起的工程车》认识一些工程师,了解它们的外形特征及功能.
烘焙燕麦片即食干吃早餐营养燕麦片原料裸料15kg散装批发
雪地上狐狸的小脚印
星空壁纸:坚守蔚蓝色的孤寂
可爱脚板印简笔画