图知网
搜索
首页
热门推荐
图片分类
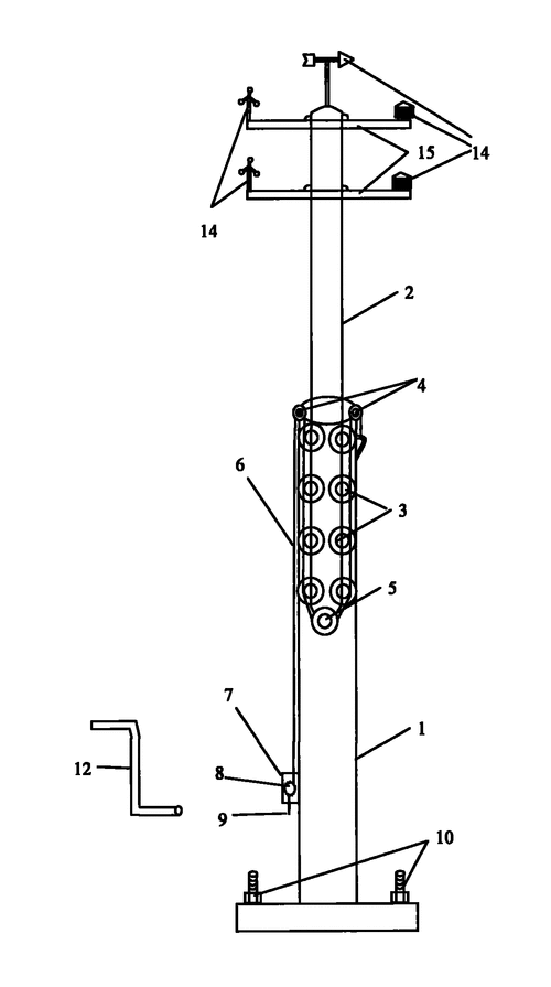
cn100404912c_方管形丝杠传动升降杆有效
下载原图
相关图片
一种强制式同步升降杆的制作方法
cn201214619y_一种简易手动升降杆失效
天线杆升降原理图
6米手摇升降杆技术参数
求35米高杆灯升降原理图
一种直流无刷电机驱动的液压一体升降地柱的制作方法
为你推荐
折木奉太郎绘画教程.#手绘 #动漫手绘 #二次元 - 抖音
2020流行歌曲简谱100首2020流行歌曲简谱流行歌曲简谱100首
杰瑞超萌 - 23646097 拾,,贰 - 抖音
汪峰和陈露恋情上热搜,工作室火速辟谣,女网红也大有来头_葛荟婕_女儿
线条简笔画直线曲线直线曲线创意画直线线条怎么画麦子简笔画儿童简笔
爱没有错:秉华不知怎样面对丹丹很痛苦,晓晓看到秉华很自责
潮汕酥饺系列表情包――小饺酥酥
新到:大众速腾2017年手自一体280tsi功率1.4t排量 - 抖音