图知网
搜索
首页
热门推荐
图片分类
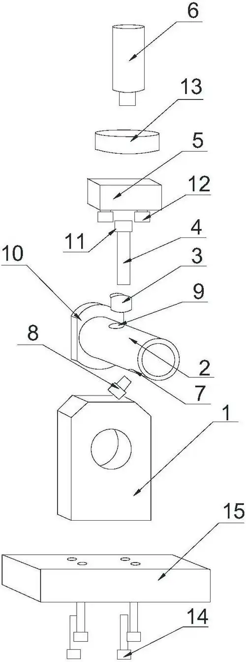
圆管冲孔模具,冲压模!
下载原图
相关图片
一种薄壁圆管冲孔模具
一种圆管冲压成型模具的制作方法
塑料挤出管材模具设计
钢管冲孔模具
宽凸缘圆筒冲压模具设计
塑料挤出管材模具设计
为你推荐
不用等到幼升小考试也能带娃做的折纸游戏,折纸背后的故事,可以说是
杨幂,这个名字在中国娱乐圈中无人不知,无人不晓.
是我的外卖到了猫和老鼠表情包猫和老鼠外卖表情
欧美音乐 摇滚 金属乐队种类 绝对精品
厦门肥嘟嘟的英短银渐层弟弟
london/boy london伦敦男孩 男女同款圆领黑白前后印花休闲短袖t恤
狗崽酒茨