图知网
搜索
首页
热门推荐
图片分类
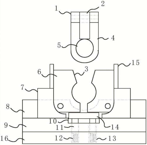
塑料挤出管材模具设计
下载原图
相关图片
一种圆管冲压成型模具的制作方法
钢管冲孔模具
请教不锈钢圆管冲孔模具_搜狐汽车_搜狐网
圆管单边扎扁模- 冲压模具图纸 - 沐风网
小尺寸铝合金圆管热挤压模具-爱企查
用于长圆管冲孔模具的定位装置制造方法及图纸
为你推荐
回顾雷佳音吵架吵出个老婆丈母娘是自己粉丝婚后多年无绯闻
男生头像_我要个性网
可爱二次元女生铅笔画q版漫画少女简笔画q版 日本动漫简笔画女孩图片
正方形简笔画添画
cosplay #王者荣耀 #不知火舞
有钱花花束 196张5元现金蝴蝶花束效果…… 以前做过最多 - 抖音
我爱他评剧唱谱(《刘巧儿》刘巧儿唱段) 戏曲曲谱
双层牛排堡 真材实料看的见