图知网
搜索
首页
热门推荐
图片分类
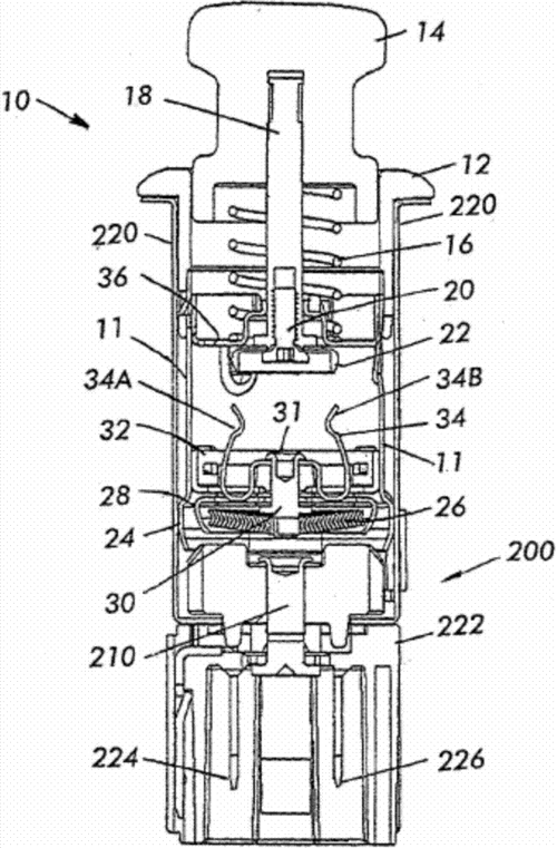
一种光电感应式电弧点烟器的制作方法
下载原图
相关图片
点烟器接充气泵对线路影响 点烟器接充气泵对线路影响吗
汽车点烟器的结构与原理图
cn103828137b_电点烟器,通用电源插座和配件插头有效
一种汽车点烟器的安装结构-爱企查
点烟器
一种点烟器结构的制作方法
为你推荐
战山为王超话
娱记曝吴磊赵露思恋情!男方情人节发情侣文案示爱
孕妇照客片#藁城爱世界婚纱摄影#王子公主儿童摄影#最美孕妇照 - 抖音
早上好表情图片大全早安祝福动态图片问候语
gucci古驰新款黑珐琅戒指!
满背艺伎_纹身图案手稿图片_吕殿金的纹身作品集
用阳明学拯救儒学
一种二次进风高效节能炉制造技术