图知网
搜索
首页
热门推荐
图片分类
点烟器接充气泵对线路影响 点烟器接充气泵对线路影响吗
下载原图
相关图片
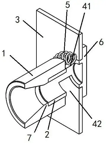
点烟器插座结构简单,插座底部中间弹性头为正极,两边卡扣为负极.
一种点烟器的制作方法
一种采用陶瓷隔绝结构的电热丝点烟器的制作方法
cn213119163u_一种具有旋转轴结构的点烟器
点烟器制造技术
喜科cigoo二代烟具
为你推荐
肖战拍戏腿太长直接劈叉和杨紫对戏身高差太多
近日,赵露思更新了个人九宫格plog,记录了个人的生活日常
动漫女生头像 短发系列2
福田繁雄作品设计理念(福田繁雄简介及作品风格解析)
图文篮网前锋易建联拍摄0910赛季写真双手叉腰
业主急售通州月亮河176平6 ,均价3.7万精装电话咨询
带有港风味道的polo衫与牛仔裤的组合是夏季的经典搭配.
供应心脏解剖模型 教学模型 v-am015 器官模型 医学模型