图知网
搜索
首页
热门推荐
图片分类
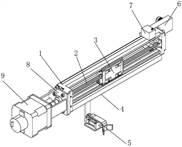
一种水利工程用管道埋设装置的伸缩传送机构
下载原图
相关图片
奥创可伸缩胶带输送机有哪些部分组成自有辆用装物时以带
主臂系统—伸缩系统 五节主臂:双油缸加两组伸缩钢丝绳组
物流分拣系统中应用于消防门处的伸缩机
无证上岗谁给制冷维修工的权利造成10几万压缩机抱轴损毁
空调压缩机工作原理动画演示
制冷压缩机工作原理ppt
为你推荐
p>章子怡,1979年2月9日出生于北京,华语影视女演员,制片人,毕业于
盲约夏天蒋欣同爱心双环项链女钛玫瑰18k彩金项链
董子健孙怡董子健是有些套路在身上的孙怡想不到你居然是抄教科书的亏
记得二郎神焦恩俊吗?53岁的他不再年轻,但气度不减当年
极速郑伊健同款假发中分刘海时尚非主流个性男士中长发表演全头套
来自画师terra810设计的变形金刚野兽恐龙部队 - 抖音
卡通优秀艺术字pngai优秀员工颁奖典礼金色艺术字pngpsd这个最美艺术
许凯景甜互换情侣头像这俩不会是真的吧