图知网
搜索
首页
热门推荐
图片分类
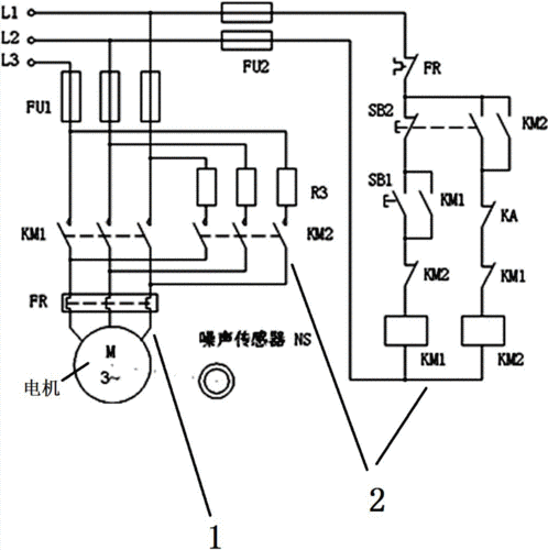
异步电动机反接制动控制接线图
下载原图
相关图片
基于噪声检测的反接制动控制电气线路制造技术
谁有星三角启动反接制动控制电路图,有的给个,谢谢!
单向运转反接 strong>制动控制电路 /strong>.gif
21,零基础学电工-单向运转反接制动控制电路(电路图,仿真图)
电动机反接制动控制
三相电动机单向启动反接制动控制电路图解
为你推荐
内衣女大码薄款bc杯蕾丝性感文胸罩聚拢上托 粉红色【四排扣蕾丝款】
妈妈的爱
公益广告广告词范文篇.doc
prada尼龙三角标单肩包
画了甘雨的mc皮肤花了我3个小时琢磨这玩意q… - 半次元 - acg爱好者
5minute手工:美丽的环氧树脂工艺品,只有想得到没有做不到
佛教四大菩萨之地藏王菩萨
劳力士迪通拿余文乐