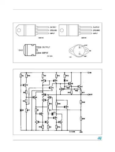
图片尺寸450x375
图片尺寸650x628
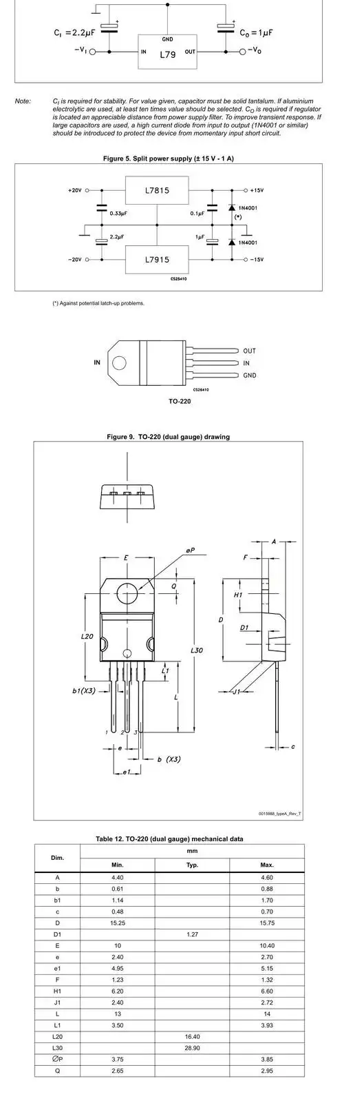
图片尺寸892x1263
图片尺寸438x328
图片尺寸790x2525
图片尺寸756x600
图片尺寸826x1169
图片尺寸268x252
图片尺寸438x348
图片尺寸793x1123
图片尺寸795x1056
图片尺寸1440x4074
图片尺寸781x466
图片尺寸450x240
图片尺寸712x943
图片尺寸790x2533
图片尺寸346x407
图片尺寸660x412
图片尺寸331x316