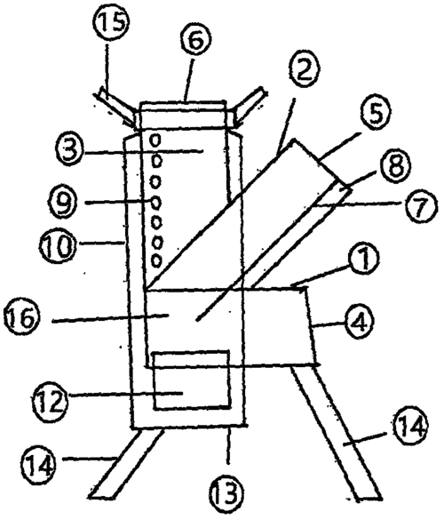
漩涡式火箭炉原理