图知网
搜索
首页
热门推荐
图片分类
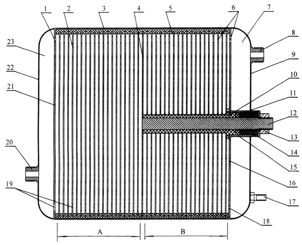
碱性电解槽构成示意图 资料来源:《中国电解水制氢产业蓝皮书
下载原图
相关图片
一种电解槽涉及一种水电解制氢,氧气装置,它采用压滤式双极性结构,由
一种用于氟化氢电解的新型电解槽
一种用于铜离子回收的电解槽
cn201037152y_一体化串并组合式电解槽失效
pem 和固体氧化物电解槽从原理上看,电解水制氢是在直流电的作用下
碱性水电解用电解槽
为你推荐
2020个性图像,百家姓定制,不忘初心 砥砺前行,属于你的专属头像
我14男,我穿长裤,配凉鞋(赤脚)可以吗
三星霹雳道鞋
麻辣鸭08
oven mitts, premium heat resistant kitchen gloves cotton &
八一建军节 | 峥嵘岁月 致敬八一
野生的sans狗头
角质层薄,有红血丝,痘肌,毛孔粗大skii神仙水:规格:150ml成分:pitera