图知网
搜索
首页
热门推荐
图片分类
桃记牌) 拣选 洁白 玉版 棉料 八尺屏 二层夹 安徽省泾县新建宣纸厰制
下载原图
相关图片
1999年 桃记牌宣纸四尺棉料26刀
宣纸桃记年老陈年老传统单传统棉连六尺罗纹单罗纹宣纸
牌) 绵料二八尺重単 60×240cm 棉料 重単宣 安徽省泾县桃记宣纸厂制
非红星红旗鸡球桃记汪六吉四尺特皮老宣纸
宣纸特净桃记特皮四尺传统陈纸老特皮生宣纸
牌) 绵料二八尺重単 60×240cm 棉料 重単宣 安徽省泾县桃记宣纸厂制
为你推荐
郑爽点赞胡彦斌歌词 随后又取消
也更不会轻易看到执行死刑的现场
算了 不生气 算了 不骂人 保持理智.他们不是傻逼 有点耐心
格拉利什:德布劳内是完美的球员,我在向他学习
八年级地理上册第二节 北方地区课件湘教版ppt
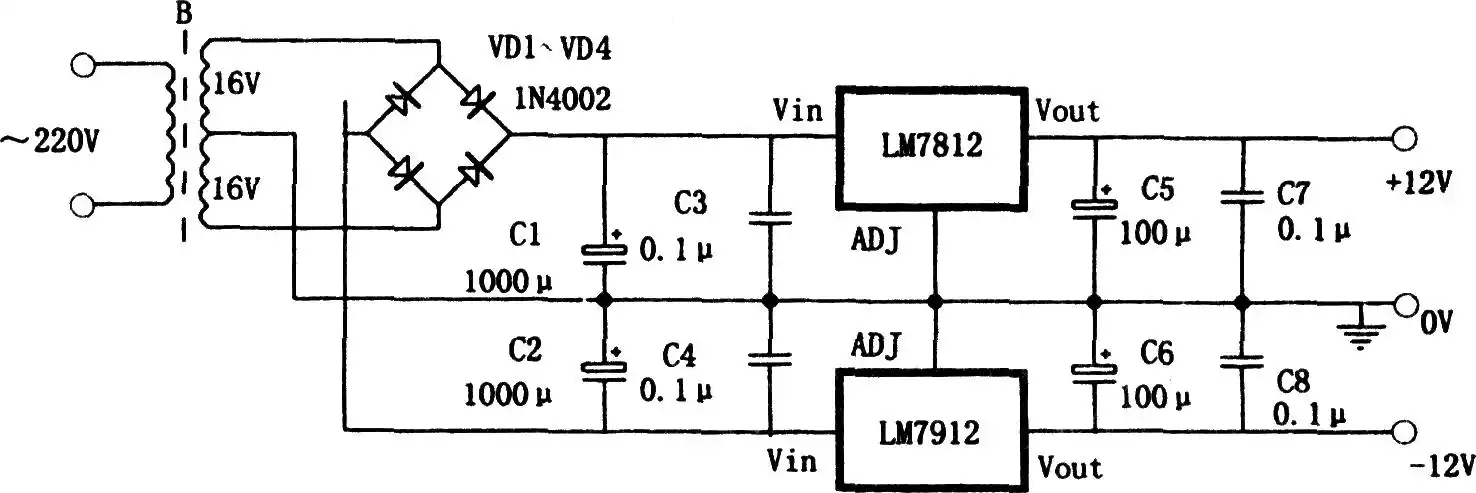
三端稳压电路图集
双阀门冷热水龙头该怎么拆卸?
男生头像冷酷帅气侧脸真人高清冷酷无情的头像图片男生头像