图知网
搜索
首页
热门推荐
图片分类
和平精英火箭少女衣服火箭少女320碎片大概多少钱2022已更新今日更新
下载原图
相关图片
和平精英火箭少女101皮肤值得购买吗
火箭少女壁纸和头像 火箭少女壁纸和头像
《和平精英》火箭少女皮肤一览
全面解读火箭少女101返场活动的详细规则
【和平精英/抽奖】火箭少女101试水,内容极其不适
吃鸡 和平精英 火箭少女 五百多,一个飞行器 二级头 三级包 mini 98k
为你推荐
赵丽颖版你的强来了##好怕林更新精神状态影响赵丽颖
董洁:气质迷人,时尚回归的玉女范
商纣王的祭祀改革
朴宝剑特别出演梨泰院class最后一集角色保密
探秘农耕文化,体验秋收快乐——站前幼儿园2020秋季亲子活动
安阳学院2016年招生简章
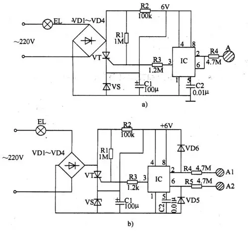
该触摸式电子开关电路由时基集成电路ic(ne555),晶闸管vt,整流二极管
光遇乐谱第三人称光遇乐谱夜空中最亮的星光遇乐谱不在流浪光遇乐谱