图知网
搜索
首页
热门推荐
图片分类
襄阳轨道交通再传新进展!争取进一步加大支持力度!
下载原图
相关图片
绿地襄阳城际空间站
在湖北各地级市的轨道交通筹备计划中,襄阳和宜昌两地率先完成了轨道
重磅襄阳轨道交通传来新消息涉及1号线2号线沿线开发
制作本方案的目的是希望襄阳城市轨道交通能够健康有序发展,本方案由
(襄阳轨道交通规划 以最终审批方案为准.
交通方式,成为大城市"治堵"的良方,武汉地铁已开始运行,襄阳的地铁
为你推荐
昔日演情侣如今却演母子女明星还是逃不过中年魔咒
面对丈夫的不忠仍不离婚,郭可盈的智慧你不懂|补丁|郭可盈|林文龙
麋鹿头
黄花梨木纹图鉴
姐妹们,有知道脊柱沟的吗?到底好还是不好?
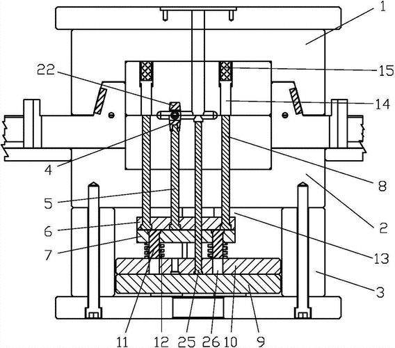
注塑模具模内自动切浇口结构
长城油烟排气扇80w强力大吸力弧形换气排风扇厨房换气扇
唐嫣明星同款无帽卫衣女2019秋冬新款宽松黑色ins加绒加厚上衣潮