图知网
搜索
首页
热门推荐
图片分类
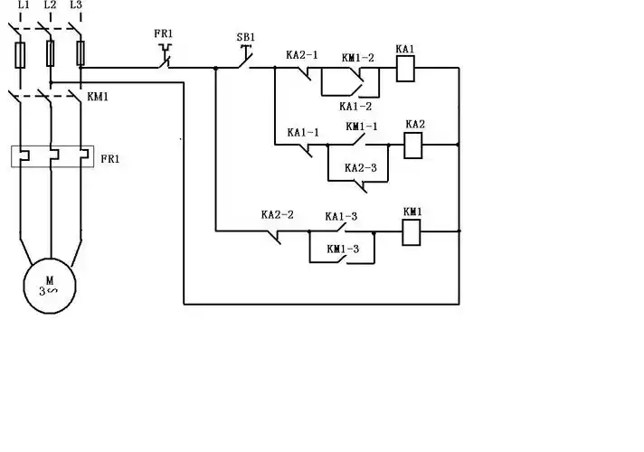
3个元器件组成的一键启停电路,掌握了要点接线非常的简单
下载原图
相关图片
单按钮控制起停图
接触器控制的一键启停电路原理
单按钮启停电路
一个按钮控制电动机启停电路图
单按钮起停怎么做才能控制二个继电器循环
两个一键启停电路图分享-电子发烧友网
为你推荐
王鹤棣撕王一博?热巴嫌龚俊嘴臭?张艺兴崩盘?|华少|迪丽热巴_网易订阅
可爱的图片萌女孩真人小孩子 超乖巧的小女生高清微信头像大全_女生
韩式微分c型刘海济南男士烫发男士发型
男士包休闲运动帆布单肩斜挎包轻便小背包中年单肩包斜挎包男
明星写真:曾之乔
皇上,三阿哥又长高了09#甄嬛传 #齐妃名场面 - 抖音
新中式禅意茶室
辅仁养心安神丸6g*8袋价格及说明书-功效与作用-亮健好药