图知网
搜索
首页
热门推荐
图片分类
艾尼森tc940全自动轮胎拆胎机汽车自动扒胎机小车拆胎机
下载原图
相关图片
c211gbpl双辅助臂后置式拆胎机
手动便携式拆胎机真空胎扒胎机流动补胎废旧轮胎拆装剥胎维修工具
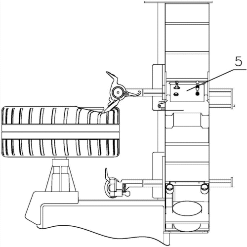
一种拆胎机的制作方法
北京恒奥德科技有限公司
厂家直销汽车轮胎左辅助臂扒胎机助力臂拆装机防爆胎扁平胎雪地胎
电动车真空胎拆卸工具摩托车便携式剥胎机电动扒胎机轮胎修理工具
为你推荐
贾玲新电影剧照曝光瘦成这样网友直呼不敢认
彩铅风景教程大海和礁石彩铅风景画详细步骤图
水产商务网 - 供应信息 - ]福建省福鼎市供应包公鱼,精诚合作
美丽女孩的肖像下载-编号25992963-人物情感-我图网
水彩线稿棉浆日式杂货店淡彩小店建筑风景钢笔淡彩填色纸上色线稿
做法: 潮汕的村头巷尾到处可见到浮豆干的摊档,油锅烧得滚烫,洁白的
白背叶根神奇功效(白背叶根:神奇功效大揭秘)
金花三张牌游戏规则是什么?