图知网
搜索
首页
热门推荐
图片分类
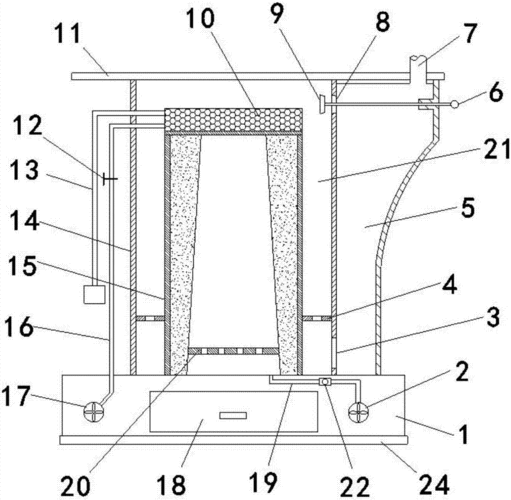
一种底部回风的燃炉制造技术
下载原图
相关图片
一种高效节能回风炉的制作方法
集智节能回风炉
一种地烟道回风炉-爱企查
一种节能回风烤箱炉制造技术
一种回风炉的分级送风与烟气再循环系统技术方案
cn103134182b_废气回收全钢风冷式节能热风炉有效
为你推荐
图一#欧铂尼门窗 # #泰诺风隔热条 # 德国泰诺风的pa66尼龙材质隔热条
蓝色风暴的优缺点 蓝色风暴月季花朵的颜色非常美丽,是淡紫色的,和
沈月站木桩上与官鸿拍戏两人演绎最萌身高差画面有爱
幼稚园孩童ai矢量素材 卡通小孩子 小朋友 儿童人物形象 设计素材
undertale2设传说之下精美人物图包errorsans篇
肌肉女julia vins可爱美女的脸蛋掩盖了她的肌肉
儿童打字练习神器模拟键盘小学生指法彩色分区硅胶垫膜初学者训练
快手头像图片文字图片快手图片带字的图片库