图知网
搜索
首页
热门推荐
图片分类
器图解(二)三相四线制,380v电源,380v负载,380v接线操控——三相四线
下载原图
相关图片
谁知道机械电压力锅三线定时器接线: 2012
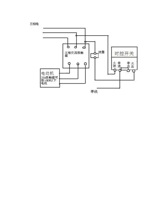
三相交流接触器与时控开关接线图
图用220v10a定时开关控制380v交流接触器,后接三相电动机怎么接线图
定时器与接触器启动开关接线图
谁能帮我解释一下这副图,是不是我设定30秒,按启动开关然后电机转30秒
三相异步电动机延时启动实物接线图 .doc
为你推荐
文艺感爆棚的男生头像很有质感
其它 黑白的外滩是这样的(1) 写美篇上海摄影家协会会员 车坛影协网
ins韩国可爱小熊儿童背包男女孩卡通百搭小动物pvc透明果冻双肩包
多控开关接线法
腿粗的集美们靴子
带年款的清代大水缸!
魔道祖师江枫眠和虞夫人的爱情注定是个悲剧从这可以看出
盘点影视剧中常见的十大婆婆