图知网
搜索
首页
热门推荐
图片分类
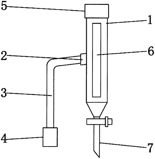
一种有机化学实验用分水器的制作方法
下载原图
相关图片
化学实验装置中分水器的改进设计及应用_周雄
一种新型化学实验用分水器
一种新型化学实验用分水器的制作方法
【典例1】使用分水器:乙酸正丁酯 制备装置如图3所示.1.
济南分水器 集水器现货抛售
它将发生脱水反应: ② 羟基与烯碳原子相连时.它的结构也是不稳定的.
为你推荐
南孚推出一款碱性电池比小米还狠更实惠价格成为亮点
蜡笔小新 动图 - 堆糖,美图壁纸兴趣社区
低趴姿态风的本田11代雅阁改装后没有了那股商务味
荣事达18公斤半自动洗衣机大容量双桶家用商用波轮双缸宾馆18公斤双层
电影灵媒hd高清版在线免费观看1080p蓝光完整已完结
78我的世界78【五橙更衣室2——这个炎黄很是红红红火火】-五歌&
中药紫菀, 味辛苦, 性温, 有润肺下气, 止咳化痰之功, 临床多用于风寒
河北邯郸尚德厂家供应高档别墅琉璃瓦屋面 陶瓷欧式西式瓦 220*220