图知网
搜索
首页
热门推荐
图片分类
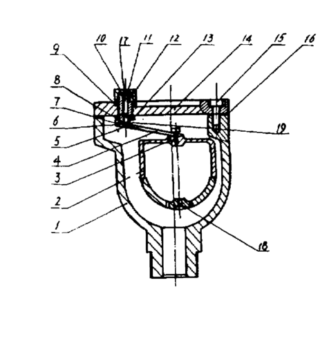
qsp全压高速排气阀工作原理
下载原图
相关图片
cn2175855y_一种水暖自动排气阀失效
黄铜暖气排气阀
不锈钢自动排气阀工作原理图
排气阀执行标准
自动排气阀图片集锦ppt
巴马阀快排阀气动快速排气阀xq170600急速放气阀171000气缸提xq
为你推荐
五官出色,对于焦恩俊来说,加成实在是太大了.
我想你电影图
热血街舞团gif王嘉尔gif算了不生气gif生气gifsoogifgifsoogif出品gif
范画章鱼
伊利品质证诺言 强势亮相"中国品牌日"
大王海鲜-贝螺类
玛丽亚·凯莉
545万中奖彩票