图知网
搜索
首页
热门推荐
图片分类
吴磊长相特点与表演风格的相互作用(上)|吴磊|表演_新浪新闻
下载原图
相关图片
回顾这一次24岁的吴磊让世界刮目相看
曾舜晞吴磊傻傻分不清楚.#美商up.
曾舜晞吴磊相似度对比照片曾舜晞家里做什么企业的
gq官摄红毯照第二波,倪妮田曦薇各有各美,吴磊宋威龙帅得相似_吴磊和
快男的这个赵英博和吴磊弟弟好像哦!
吴磊,王鹤棣 相似造型拍照姿势96 两位95生top
为你推荐
蓝色系二次元少女头像
潘阳|王晶|潘长江|女明星_网易订阅
明星大侦探6
七月盛夏凤眼果来抢镜啦
2233
拜殿内陈列着20幅反映十殿阎君,十八层地狱庙藏画
东京·武藏关 满开的樱花与西武新宿线交织的美景! 照片 - 1/19
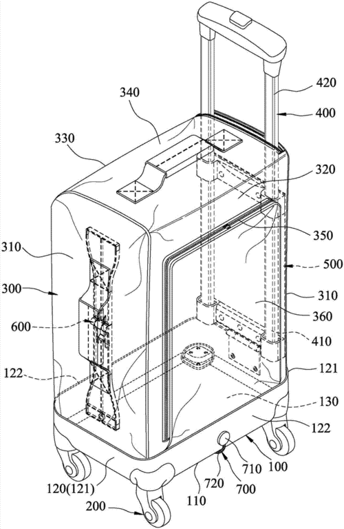
具折叠侧架的行李箱的制作方法