图知网
搜索
首页
热门推荐
图片分类
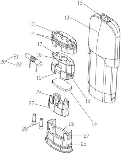
cn106672290a_一种卷烟烟盒及其包装设备和方法在审
下载原图
相关图片
cn212590236u_智能全自动弹烟点烟盒
烟盒教程来啦
一种用芳稀芯过滤的电子烟烟弹
cn202784036u_一种烟用包装盒有效
huanghelou黄鹤楼烟盒异形盒设计及外观视觉效果设计
一种玩具烟雾弹
为你推荐
抽烟头像男生霸气十足冷酷帅哥
适合双鱼座的头像 适合双鱼座的头像男生
金俊勉esquirekorea我被彻底帅哭了呜呜
光遇摸鱼酷哥光遇龙骨龙骨平涂我要上首推插画同人sky光遇光遇sky
【龙珠z卡卡罗特】米拉托娃
就从我怎么认识太一你开始吧,为了花花而看歌手的我,第一次知道你是在
良福复方醋酸地塞米松乳膏20g支视频
抖音浪莎同款裤女夏季薄款大码裤家居睡裤宽松可外穿防走光打安全裤打