图知网
搜索
首页
热门推荐
图片分类
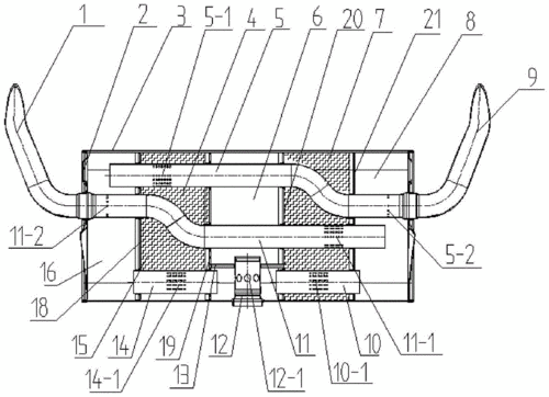
该消声器的内管采用了锥形进气管结构,可有效降低气流摩擦噪声,内管
下载原图
相关图片
拥有时不以为然 失去后郁郁寡欢 我的排气消音器啊!
汽车消声器消音的基本原理和结构图
本田思域,丰田凯美瑞地板"鼓包"的真相-搜狐汽车
汽车发动机的消声器结构的制作方法
工马 适用于加厚409钢马六马自达6后节不锈钢尾段消音器排气管消声器
消声器:降低发动机的排气噪声,并使高温废气能安全有效的排出.
为你推荐
26个创意卡通英文字母表矢量素材
原创俄罗斯mp155ultima智能霰弹枪一个新的武器发展方向
土耳其无处不在的"蓝眼睛"
回音壁海瑞简介
室内设计手绘效果图-卧室 马克笔7315:法卡勒一代 透视:两点透视
蔡力 (体育人物|社会人物)
《法证先锋》:古泽琛,一个被林文龙演活了的角色!
阿柒大号帅气