图知网
搜索
首页
热门推荐
图片分类
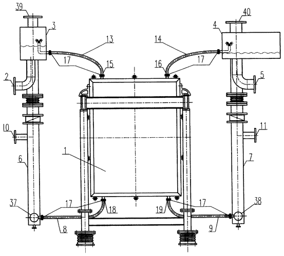
一种连续式的次氯酸钠电解槽-爱企查
下载原图
相关图片
一种预焙阳极铝电解槽
铝电解槽
djc2电解槽(1000kg)槽体cad图纸dwg图纸
碱性水电解用电解槽
电解槽
它主要由单元电解槽和离子膜及外部循环构件组成,多个单元电解槽串联
为你推荐
香港经典红白蓝胶袋特大加厚打包衣服被子的搬家袋防水杂物玩具收
怀素草书千字文
bigbang# 成员太阳东永裴与妻子闵孝琳 结婚3年即将迎来新生命.
幼儿园小学造型宣传栏
中国旗帜
百财如意玉白菜摆件客厅吧台酒柜装饰品店铺开业家居工艺礼品
新冠疫情防控宣传贴纸防疫标识墙贴进店温馨提示请佩戴提示牌温馨提示
户外大型网红动物模型发光蜗牛玻璃钢雕塑园林景观小品装饰品摆件