图知网
搜索
首页
热门推荐
图片分类
盘点拍卖史上最贵的10枚金代古钱币 第九名:金代贞祐通宝折二 华夏 古
下载原图
相关图片
【古代丝绸之路金币】拍卖品_图片_价格_鉴赏_钱币_雅昌艺术品拍卖网
【淳化元宝金币】拍卖品_图片_价格_鉴赏_钱币_雅昌艺术品拍卖网
【1906年 光绪丙午年造大清金币库平一两 一枚】拍卖品_图片_价格
【同治通宝小平金币】拍卖品_图片_价格_鉴赏_钱币_雅昌艺术品拍卖网
【华北银行壹两金币】拍卖品_图片_价格_鉴赏_钱币_雅昌艺术品拍卖网
【近代 福建官造局光绪元宝库平七钱二分金币】拍卖品_图片_价格_鉴赏
为你推荐
【回顾】周杰伦jaychou音乐专辑回顾!
converse匡威男女鞋1970s经典款三星标低帮休闲板鞋帆布鞋162058c
奥特曼中的那些强大的合体怪兽(第一弹_腾讯新闻
lisa烟熏妆写真酷飒十足下衣失踪毛线帽时尚撩人
当前位置:首页 > 会议 会议 暮云合璧 2600元/场/4小时 课桌式:96人
男士休闲裤_薄款男士休闲裤宽松长裤子纯色中年男装商
张蔷《害羞的女孩》见图见描述
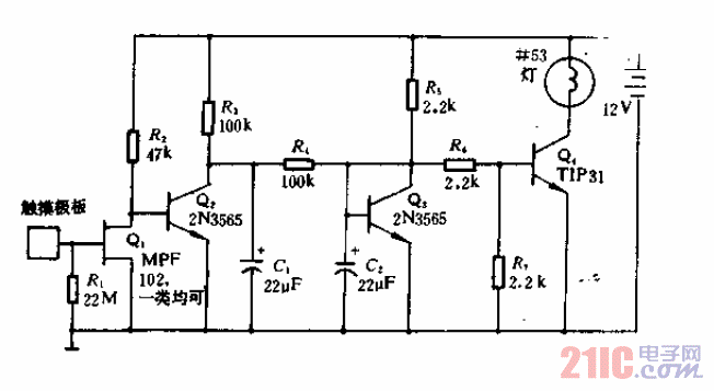
触摸开关电路图c