图知网
搜索
首页
热门推荐
图片分类
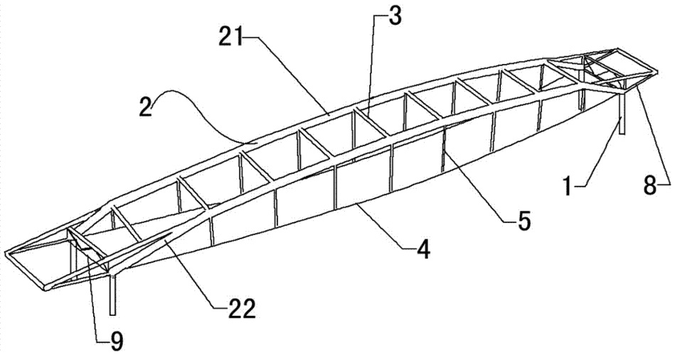
结构设计上选择了张弦梁与悬臂构架组合的结构体系.
下载原图
相关图片
一种张弦梁结构及其施工方法与流程
广州国际会展中心大跨度张弦梁的设计探讨-结构专业论文-筑龙结构设计
图13 桁架和传统张弦梁结构设计简图
张弦梁结构.jpg
[施工图]温泉酒店张弦梁钢结构工程图纸
大跨度张弦梁的屋面钢结构的制作方法
为你推荐
【凯源】tfboys王俊凯和王源亲亲是真的吗?
简单易学的画画 你想学吗?
十二生肖拟人属相
古法金手镯儿,来料60克成品59.4克,多退少补-度小视
【徐璐性感唯美写真】白色单肩礼裙,温婉清新,芬香动人_多芬_活动
农村建房就是中式三世同堂徽派平层自建房也能秒杀洋别墅
百岁奇僧预知时至,选定奇人继任住持
儿童泳衣女童夏季新款中大童分体女孩小公主裙式温泉游泳套装