图知网
搜索
首页
热门推荐
图片分类
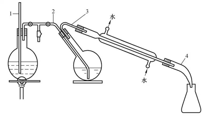
简易水蒸气蒸馏装置图
下载原图
相关图片
图3-30 常量水蒸气蒸馏装置示例(3)1—安全管;2—水蒸气导入管;3—水
四,实验装置 水蒸气蒸馏装置
仪器安装(仪器装置见图) 蒸馏仪器主要由蒸馏瓶,蒸馏头,温 度计,温度
苯和甲苯水蒸气蒸馏装置图ba-jbzl6_水分_进行_要求
蒸馏水装置500ml烧瓶花露露水精油提炼花瓣提纯教学仪器
肉与肉制品中水分含量三种测试方法介绍
为你推荐
浴火之路赵丽颖同款民族风披肩大斗篷八婆暖旅行拍照云南草原围巾
微信女生高冷霸气头像 女生独一无二个性头像2020
春天朝气背景图
遇见-孙燕姿-c调-流行钢琴五线谱
78海绵宝宝78简笔画油画棒临摹手绘.
希特勒签名照片
月歌# 水手服 水无月泪
中国乔丹篮球鞋男冬2024冬季减震男鞋新款耐磨战靴运动鞋透气球鞋