图知网
搜索
首页
热门推荐
图片分类
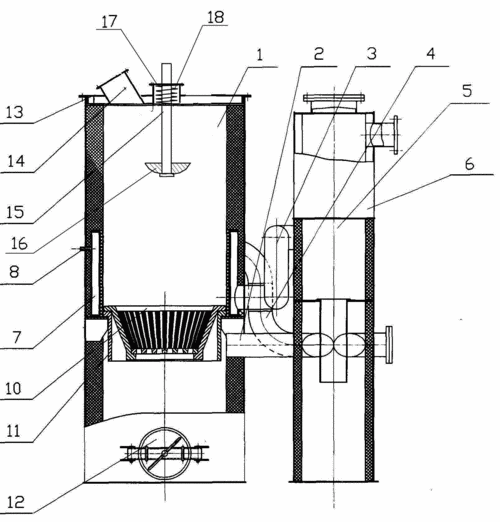
秸秆气化炉
下载原图
相关图片
工厂定制各种柴火灶,气化炉,省柴循环燃烧每一件都是出厂价,有 - 抖音
秸杆气化炉怎么制作
下吸式双循环秸秆气化炉
关于进藏用柴气炉做饭的柴火问题
深入探秘一次进气技术,自制柴火气化炉的进化
cn201198466y_新型多功能生态环保节能秸秆气化炉失效
为你推荐
今日可爱易烊千玺头像迷雾鹤思
虚线描图到底能帮助孩子提升什么能力?
景甜拍摄新时尚大片,旗袍华美气质不改,挑战白皇后不输安妮海瑟薇
roseonly甜心兔十周年特别款永生花玫瑰情人节礼物送女友七夕告白
strong>幼儿 /strong>园2-3-4-5-6岁儿童简笔画水果蔬菜风景草莓水果
活着一辈子为啥这么难,谁把这痛苦带到人世间
68岁王刚,三段婚姻三个妻,8岁儿子跟孙子同龄!
白雪公主——雪鸮