图知网
搜索
首页
热门推荐
图片分类
黑枸杞泡水是这种颜色,是正常的吗?
下载原图
相关图片
20年新货】青源堂青海黑枸杞子泡水正宗非宁夏野天然生 尝鲜装250g
别人微商买来送我的野生黑枸杞,泡水后这样?正常?粑粑都成了黑色的.
黑枸杞,泡水泡成这样,正常吗?能喝吗?
热销黑狗杞 野生 500g_黑枸杞子宁夏 特级500g免洗野生正品1斤青海
黑枸杞泡水饮适合今天武夷山的气温
野生黑枸杞食用方法
为你推荐
数学书签
西红柿病毒病防控小技巧
手绘彩铅冰块
q版观音菩萨卡通头像设计 轻质感头像设计
中式一层别墅设计图效果图
多米诺多米诺骨牌儿童益智6岁基础套装m600标准塑料多米诺骨牌
火炭母
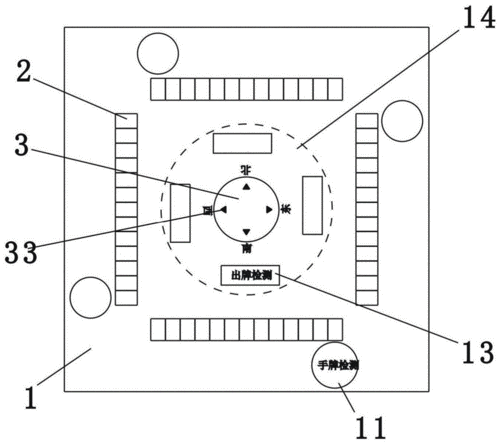
一种智能提示的麻将机的制作方法