图知网
搜索
首页
热门推荐
图片分类
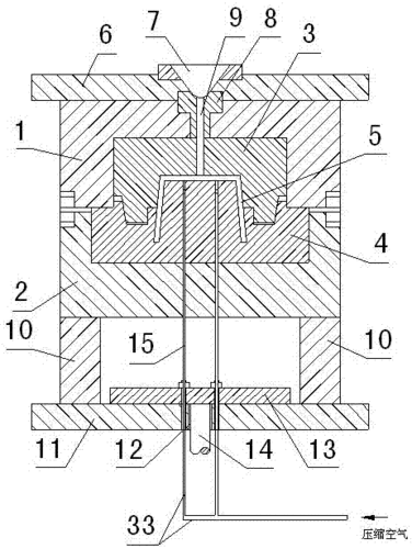
气缸抽芯顶出注塑模具的制作方法
下载原图
相关图片
模具结构图
一种模具顶出机构的制作方法
一种顶杆带有气顶装置的深腔注塑模具的制作方法
一种塑料模具中吸排一体式的多功能气顶组件制造技术
模具设计气顶方案你知道几种呢
一种模具吹气顶出结构制造技术
为你推荐
豪华版成年聚会休闲游戏纸牌快乐大本营游戏 谁是卧底(红盒便携版)
武汉天河机场
全家福简笔画四口之家 全家福简笔画画法步骤图
脸老爷爷的侧面头像
简单花仙子简笔画
白色动物爪印在黑色背景下的方形框架
建立跨部门的工作组,提高协同合作的绩效!
第五人格游戏人物q版图