图知网
搜索
首页
热门推荐
图片分类
延时混响单元电路
下载原图
相关图片
延时,混响单元电路
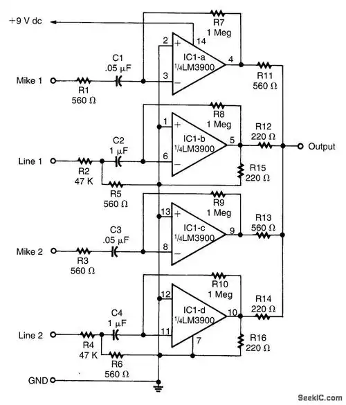
音频混合器 _音频电路_电路图_114ic交易网
疯狂的混响全接触
吉他混响效果电路设计
混响和回声是一样的么
新型数码回声混响电路图
为你推荐
赵薇竟公然亲日辱华!更严重的是她的罪行不止于此,怪不得被封杀
原来有这么多明星已经移民,其原因在哪?网友:不要再来中国赚钱
网友晒1991年张国荣与周润发合照对比近日网友晒与发哥合照显老
136张世界地理必备高清地图,高中地理空白地图,超清晰(可下载)全国
昨日嘉定一女子半夜跳河身亡!原因竟是
外国小女孩踮脚吻小男孩的图片
messi, pogba, marcelo.
中国品牌日央视发布加多宝荣获高新技术企业认定