图知网
搜索
首页
热门推荐
图片分类
新型三端稳压器bl78l05d的详细参数免费下载
下载原图
相关图片
lm78l05
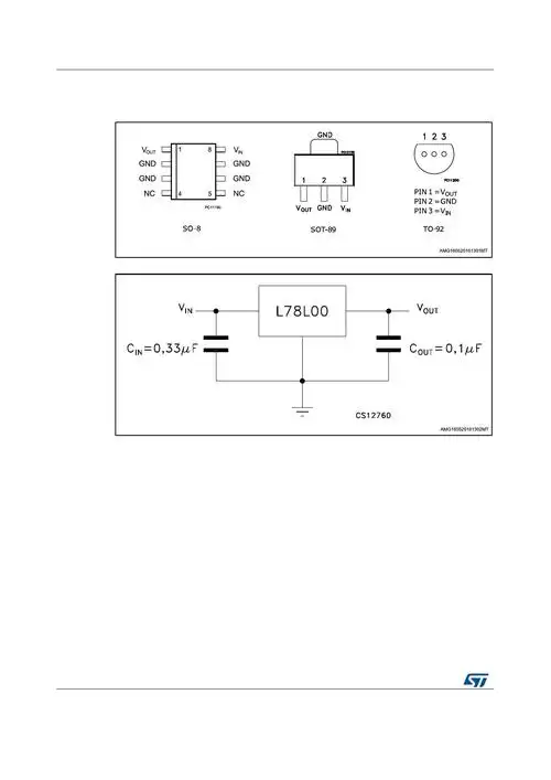
78l05 datasheet pdf - stmicroelectronics
78l05引脚图及电路原理图详解
请注意lr78m05和lr78l05管脚定义的区别
mc78l05acdr2g线性稳压器芯片中文资料规格书pdf数据手册引脚图参数
识别lm7815和7915组成的双15v电源电路图78l05管脚图引脚图及参数资料
为你推荐
【木鱼】我的世界:因太帅被关进了监狱,小铃铛能否带他越狱?p56
【素材】3d动态人物(透明)の杂图
汉服摄影超话客片分享,这个古风景真是太出片了汉服摄影超话#汉服约拍
治愈系微信聊天背景图
912_1632竖版 竖屏
userpage of jfetspeaks -- fur affinity [dot] net
西安旅游景点介绍大全(著名名胜古迹最佳旅游攻略推荐)
电镀加工古铜不锈钢板拉丝黑古铜供应印象金属科技销售304不锈钢板