图知网
搜索
首页
热门推荐
图片分类
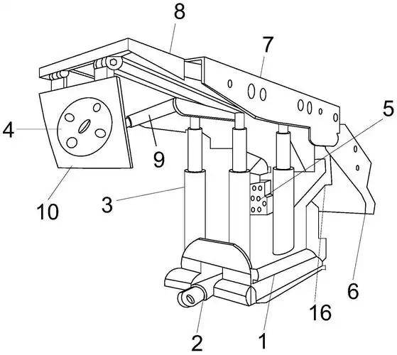
一种施工建筑承重支架的制作方法
下载原图
相关图片
单管多管侧向抗震支架大样图.docx
一种轻型放顶煤液压支架专利_专利申请于2020-12-31_专利查询 - 天眼
zy液压支架图册.doc文档全文免费阅读,在线看
单管纵向抗震支吊架大样图
手机打字支架
qy-a型液压支架设计【7张图纸】【优秀】_人人文库网
为你推荐
黄景瑜帅气军装照刷屏活脱脱行走的衣架子
生气嘟嘴卖萌动漫表情包newgame
lr20d型干电池
流行于北美大陆的近战冷兵器印第安民族的象征印第安战斧
苹果天鹅(水果拼盘)的全部作品
华为畅享20pro上新配置解析图
星黛露壁纸放假啦起床啦
一次性使用加强型气管插管