图知网
搜索
首页
热门推荐
图片分类
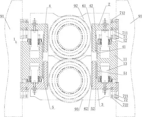
用于薄膜生产流水线的旋转加热辊的制作方法
下载原图
相关图片
一种高速宽幅纸机用新型弧形辊的制作方法
弧形辊《产品以通过质量管理体系认证,产品一律包用一年》
弯辊技术
轧机工作辊弯辊结构的制作方法
cn106670236b_板带轧机双重导向工作辊弯辊及平衡装置有效
富盛机械生产弧形辊,弯曲辊,香蕉辊,弓形辊,弯曲辊
为你推荐
鹿晗戴口罩都阻挡不了的神颜 有些人天生要光芒万丈
房似锦怒怼她老娘安家
新加坡50元的纸币在哪里可以换成人民币
爱马仕包包春夏色0577
四季常青的松树纹身
银发少女与猫93 今夜的星光为你带来一切好运.
制作一个类似文案馆的app需要多少钱?有哪些功能?_卡卡西科技
一起来画可爱的小兔子吧,这个画法简单又好 - 抖音