图知网
搜索
首页
热门推荐
图片分类
新车二手价 #二手猪笼 #二手猪笼车 #猪笼子 - 抖音
下载原图
相关图片
定制猪笼养猪设备可拆卸称猪笼运猪装猪肥猪养殖设备10件起拍老款
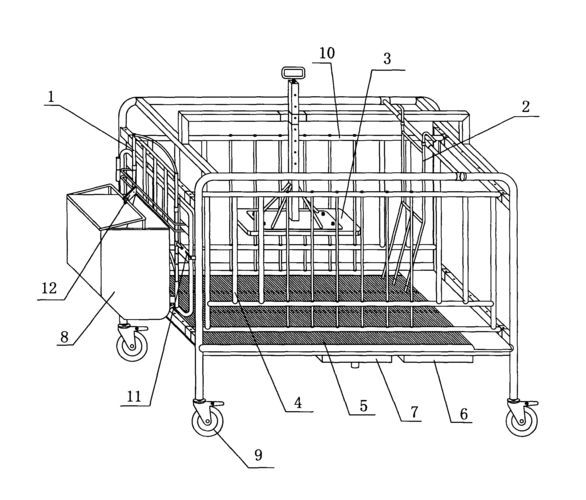
一种猪消化代谢笼
定做 猪笼 养猪设备 可拆卸称猪笼运猪装猪肥猪养殖设备 徐牧厂家直销
配种母猪升降架热镀锌耐腐蚀驯猪采精配猪架子猪栏猪笼
猪笼子猪场用装猪笼母猪称重转运大推车上车卖抓肥u猪笼家用神器
猪笼子猪场用卖猪笼装猪笼子拉猪车大小猪转运车猪场用称猪笼推车
为你推荐
二次元动漫场景高清手机壁纸
遮脸女头/所有事情只是你觉得值得就好
镀锌管 q235b 热镀锌钢管 4分镀锌钢管 消防水管 现货发
苹果iphone手机壁纸-名侦探柯南 67|宅男部落
清代铜砝码,秤砣_价格15元【弘扬中华文明】_第1张_7788商城__七七八
媒体信息传播日益发达,该怎么甄别正确价值观,且有效的信息呢?
大厅人员迅速进入工作状态.