图知网
搜索
首页
热门推荐
图片分类
超大顶喷三功能恒温淋浴花洒
下载原图
相关图片
恒温花洒和普通花洒的区别,主要在混水阀上.恒温花洒和
科勒原装正品面盆龙头阀芯恒温花洒陶瓷片阀门冷热龙头开关834460
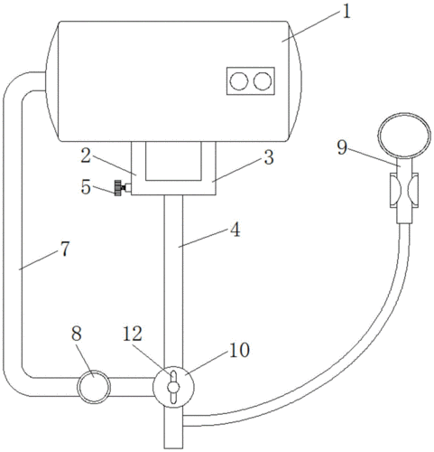
一种基于三向阀控制的回流式恒温五金花洒的制作方法
明装花洒套装太阳能电热水器智能恒温混水阀淋浴开关水龙头带上水
这么一款智能恒温阀不仅解决了洗澡难题,价钱也比恒温花洒要便宜一些
太阳能电热水器混水恒温阀暗装温控阀水龙头淋浴花洒自动调温明装
为你推荐
张韶涵晒九宫格美照白西装配轻纱优雅干练
白雪歌曲
提线木偶
kenzo高田欧美虎头刺绣短袖夏季潮流百搭圆领半袖t恤 原价1299元 现价
定时器控制式微波炉的工作原理图–电路图–电子工程世界
黑龙江特产:五营红松籽
新西游记动画片西游记第二部免费观看
霜姐@余霜yscandice 管哥@管泽元 ,希望你们在邓布利多的言语里长长