图知网
搜索
首页
热门推荐
图片分类
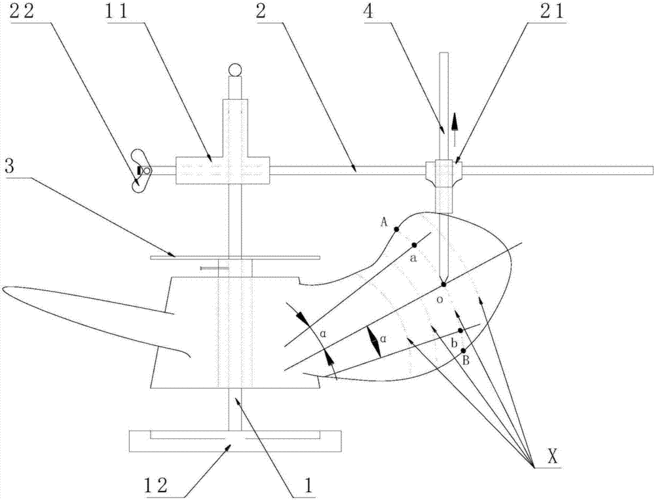
翻边的增加会增加螺旋桨螺距,降低转速.翻边还会增加起翘角度.
下载原图
相关图片
螺旋桨的螺距是指螺旋桨在一个固定介质中旋转一周前进的距离.
螺旋桨概述
螺旋桨知识
螺旋桨的空气动力ppt
螺旋桨式私人飞机知识:工作原理是什么?
一种螺旋桨螺距测量装置的制作方法
为你推荐
红色简约中考加油海报
p30pro自带样片图片 - 华为p30系列分享交流 花粉俱乐部
恩典qq皮肤图片下载恩典qq皮肤素材免费下载
天若有情 3
印象 写美篇哇咔 燕京浩大 莅临圣土 鸟瞰城际天涯 京城罕靓 紫禁城
买红妹与吴孟达什么关系?两个人饰演夫妻是什么电影 本文共(486字)
洛杉矶快船布莱克格里芬全高清壁纸和背景
长安牌sc1034frd6b1载货汽车