图知网
搜索
首页
热门推荐
图片分类
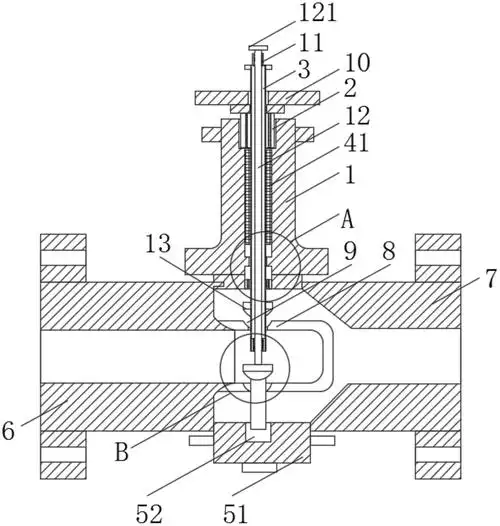
一种自锁定流量调节针阀
下载原图
相关图片
一种流量可控的针型阀
进口美标不锈钢针型阀 ,包括针型阀,手动针阀
世伟洛克通用针阀
不锈钢高压截止阀不锈钢针阀高压针阀高压开关高压针阀
j23w外螺纹针型阀(结构图)
不锈钢高压针型阀结构说明
为你推荐
陈伟霆怪我咯眼神皱眉gif动图_动态图_表情包下载_soogif
车上手牵手情侣唯美图片
望远镜发现的第一颗行星天王星有多恐怖季节可持续20年
声光警号 103声光报警器 有线声光报警喇叭警号12v/24v/220v声光警笛
0070_达芬奇绘画作品集油画图集tif格式
钢笔画风景速写,绘画技法学习
平凡人苗家郎中草本乳膏抑菌软膏带防伪可查询图片
简介:超级赛亚人之神 孙悟空桌面背景下载是qq壁纸网免费提供好看的