图知网
搜索
首页
热门推荐
图片分类
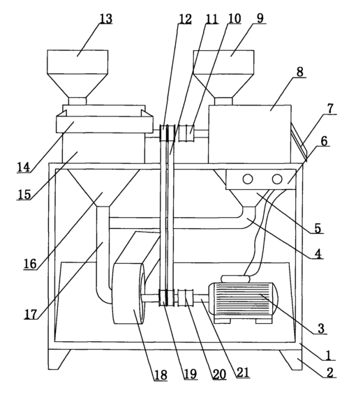
砻谷机
下载原图
相关图片
一种砻谷机以及砻谷碾米机
砻谷机
一种复式全自动胶辊砻谷机
cn201720071u_碾米粉碎组合机失效
精米机的结构解析和主要技术参数
立式杂粮碾米机制造技术
为你推荐
我儿子照片第一发测试
正青春再出发png素材透明免抠图片-装饰效果-三元素3png.com
可爱女孩微信头像彩虹泡泡的小鼠跳995查看更多用户协议隐私政策
为什么战斗员飞行员穿的飞行服都是连体衣呢?|连体衣|飞行员|空军_新
脖子发黑洗不干净怎么解决,真实故事
临摹个小画酷酷的侧身动漫女孩
致敬美术生 | 燃到爆的《战狼2》分镜,出自中国美术学院生之手!
鱼缸过滤器小型hw603b水族箱草缸静音水泵滤筒过滤桶鱼缸外置