图知网
搜索
首页
热门推荐
图片分类
《露香园,低于市场价500万,**全配,带产权车位,业主急售》
下载原图
相关图片
露香园带独用露台
露香园别墅出租毛坯状态
露香园带露台车位充足
露香园淮海路私人府邸3房总价买大5房
市中心豪宅露香园
露香园次新高品质豪宅高区带一梯对学区
为你推荐
愧疚的一件事话题作文.doc
中融长安壹号
伦纳德 胖虎
湖南宝山有色金属矿业有限责任公司井下中深孔施工现场.
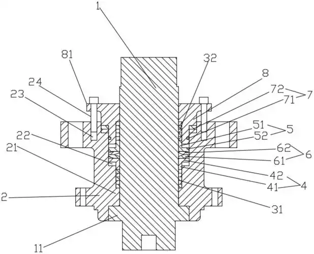
一种双填料函密封结构及阀门
公共卫生间设计方案
百舸争流,奋楫者先——上海市建平中学西校师生参加阳光体育大联赛
珍爱生命,预防溺水!