图知网
搜索
首页
热门推荐
图片分类
路灯jt
下载原图
相关图片
莲花路灯——2016神灯奖申报设计类
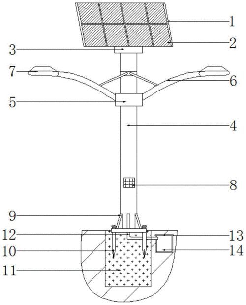
一种太阳能光伏发电的led路灯的制作方法
一种交通节电用的智能路灯控制装置的制作方法
cn102478196a_具有透明薄膜太阳能板的led路灯失效
手绘路灯设计图路灯集合照片
智慧路灯的制作方法
为你推荐
还有人记得当年热播的《陆贞传奇》吗?
原创任嘉伦待播甜宠剧乌鸦小姐与蜥蜴先生搭档邢菲甜度加满
电大福 适用 华为p20电池 荣耀10lite 青春 20i 畅享9s 麦芒8 手机
网络动漫男神头像日系特别优质的男头爱了爱了
欧洲直邮celine/赛琳 经典款nano belt女士小牛皮手提单肩包鲶鱼
天降女子!~女孩子从2楼…掉了下来!
一座适合骑行,野营的原生态岛屿!太出片了_腾讯新闻
stangear平台产品smg系列主齿轮箱