图知网
搜索
首页
热门推荐
图片分类
硬盘电路图pdf
下载原图
相关图片
rns510加装6碟碟箱成功附上接线图
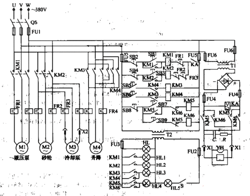
m7120型平面磨床控制电路
线头好像是电机线 还有一个电容 一个四孔开关 一根电源线 该怎么接线
电路图:硬盘mp3原理图
厂家直销昆雕磨刀机 雕刻刀研磨 尖刀研磨 kdm-10型380伏
0ide/sata 串口/并口多功能移动硬盘座盒读卡器hub_双氙车灯改装网
为你推荐
眼镜"超期服役",很可能导致近视加速
凯峰新款 农用电动喷雾器12v8a打药机农药喷雾机消毒器喷壶免疫机 -
多伦多, 建筑, 摩天大楼, 蓝蓝的天空, 塔, 加拿大国家电视塔, 城市,
【日本战后丨群像】 树藤_电视剧相关_电视剧_哔哩哔哩
双手简谱童年的回忆带指法c调爱的纪念简单版克莱德曼
呦你也中签了篇四nikekyrie5欧文5星空篮球鞋开箱简评
距布达拉宫约50米,属拉萨市核心旅游商圈的中心位置,酒店周边各种配套
小黑屋放我出去表情包