图知网
搜索
首页
热门推荐
图片分类
储气罐_储气罐价格_储气罐厂家-勤加缘网【上海定盛
下载原图
相关图片
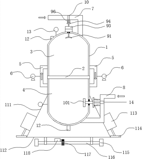
一种立式储气罐
一种立式高压储气罐的制作方法
50立方立式lng储罐技术特性参数表
储气罐安装示意图
8mpa容积:1m06品牌:灵坦名称:压缩空气储气罐三
储气罐安装示意图
为你推荐
北京杜莎夫人蜡像馆迎张颂文蜡像入驻共庆十年荣耀时刻
手写 曲终人散
厂家直销led封装支架 2835rgb 3528rgb 5050rgb 3535rgb 3030rgb
水彩中的芭蕾67676767太美了
美甲美睫活动海报美业海报朋友圈文案
适用老式录音机老式 80年代录音机磁带卡带机播放机收录机怀旧 深灰色
迷你世界官方都点赞的五大建筑看到第三个少女心泛滥
第3节z3050摇臂钻床电气控制电路