图知网
搜索
首页
热门推荐
图片分类
商丘拓城县发生一起刑事案件 警方发布悬赏通告
下载原图
相关图片
福建省福州市闽清县政协建言农产品质量安全
商城县公安局城关派出所破获一起诈骗案件
市委常委,组织部长赵建玲深入商城县调研指导抓基层基础促乡村振兴
河南商城法院公开宣判一起恶势力犯罪案件
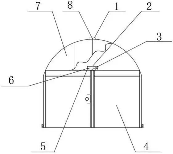
cn213306515u_温室大棚的接地式支护架有效
一种应用于温室大棚灌溉系统的雾化微喷结构
为你推荐
黄晓明baby结婚证件照曝光温馨搞怪是真爱
据说他的老婆是倪萍的妹妹,名叫倪炜,那这样说的话,倪大红老师岂不是
发际线后退明显,曾被曝在私立医院生产,花费10万_腾讯新闻
6767677314 676767孙艺珍… - 堆糖,美图壁纸兴趣
吉克隽逸最新泳装大片曝光性感火辣皮肤黑到发亮
过生日时适合发的高逼格的说说图片
可爱熊猫举重卡通矢量素材
70年代东方红拖拉机正常开动原版原漆纪念意义重大