图知网
搜索
首页
热门推荐
图片分类
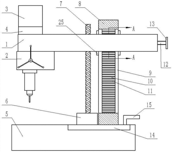
目前,台钻由于体积小,使用方便,成本低,使用较为广泛,台钻主要结构
下载原图
相关图片
台钻结构图
柴油发电机组维修基础 --钳工常用设备(三)
一种钻床主轴箱的升降机构的制作方法与工艺
迷你简易式台钻三维图
一种齿柱式重型升降台的制作方法
一种立式钻床升降机构制造技术,台钻升降结构图专利_技高网
为你推荐
饺子数量,造型,团队士气等方面进行综合评分,既强调速度,又注重创意和
白敬亭好奇自己的桃花运对方给出5字解答真的扎心了
童年的夏天内附组图
和泉纱雾超可爱头像
女保镖魔鬼特训
夏天池塘里的荷花荷叶
安踏水泥泡泡篮球鞋男鞋2022秋冬季新款实战耐磨球鞋体育男生专业运动
起亚智跑