图知网
搜索
首页
热门推荐
图片分类
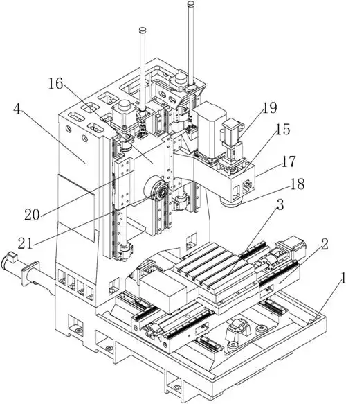
一种立式加工中心主体结构的制作方法
下载原图
相关图片
一种立卧复合多面加工中心机床
一种立式加工中心的制作方法
一种后桥壳片用双动柱双主轴立式加工中心
一种具有新型移动部件防护罩的立式加工中心
常见的 数控加工中心有立式,卧式之分,虽然外型结构
背景技术:当今机械加工行业飞速发展,立式数控加工中心是机械加工行业
为你推荐
高中体育生校服下的腹肌_哔哩哔哩_bilibili
男扮女装伪娘衣服cosplay水手套装学生jk制服海军服饰
传方力申邓丽欣冲绳秘婚 男方家人未获邀请
kimjisoo超话#金智秀出道七周年快乐#230802 智秀个人专辑me 紫胶高清
抖音最火头像女生动漫
唯美伤感的戏子古风句子
空间个人签名档(给朋友们设计的签名,随心设计不重样,空灵优美而不
万事胜意