图知网
搜索
首页
热门推荐
图片分类
3d打印机的送丝机构的制作方法
下载原图
相关图片
一种自动送丝机构的制作方法
cn203265846u_一种co2焊接送丝机构失效
一种自动送丝系统
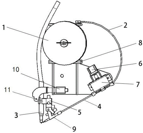
所述箱体内安装有电机,电机输出端通过第一传动机构连接送丝轮传动组
一种3d打印送丝结构制造技术
焊接机器人送丝结构-爱企查
为你推荐
成龙
卡通壁纸,mac电脑动态壁纸,mac壁纸下载,电脑桌面壁纸下载macv
学校餐厅艺术涂料贝壳墙衣艺术涂料内墙质感漆防尘防霉
《饥荒》游戏海报
年轻人为什么常常觉得累只因你无形中都做了这些
绿茶2022年新茶明前特级富硒茶高山云雾毛尖蒸青茶叶500g
男生古风q版的头像来喽 这是第一期,第二期还是男生古风q版头像.
女生头像干净时尚ins高级质感高清图片