图知网
搜索
首页
热门推荐
图片分类
每日一字924:根|横画|收笔|写法|笔锋|略平_网易订阅
下载原图
相关图片
每日一字924:根|横画|收笔|写法|笔锋|略平_网易订阅
行书"根"字
说文解字写的篆书根
徐伯清写的草书伐字_徐伯清伐字草书写法_徐伯清伐书法图片_词典网
根字行书写法_根行书怎么写好看_根书法图片_词典网
隶书根字
为你推荐
传统鬼武士般若花臂纹身手稿
木子李手帐贴纸
其原理是首先利用变压器升压,然后给初级回路电容充电,充到放电阈值时
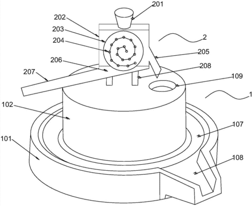
一种脱壳冷榨一体化石磨装置的制作方法
wallpaperengine空洞骑士全角色绘图动态壁纸
杰尼龟表情包憨憨搞笑斗图聊天微信表情系列呆萌可爱图片_宝可梦_ds
伤口边发白什么情况?
车型全览 jeep jeep 指南者(进口) 指南者(进口)内饰功能